If you thought the age of outrageous combustion engines was over, Porsche would like a word. As first reported by Carbuzz, a newly surfaced patent outlines an internal combustion engine with three cylinder banks, provisions for three turbochargers, and capacity for up to 18 cylinders. It reads like a greatest hits mashup of Porsche’s engineering obsessions, only turned up to eleven.
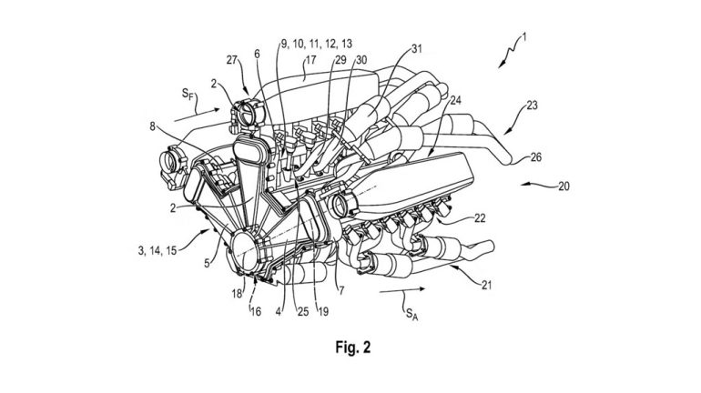
At the heart of the filing is an engine laid out in a true W. Instead of the four banks you’d see in a traditional W configuration, Porsche stacks three separate banks at 60 degrees to one another. Think of it as three inline-six engines sharing a single crankshaft. That geometry creates a compact package with a short overall length and potentially excellent balance, while also giving engineers clean, direct paths for intake and exhaust routing.
The packaging is only part of the intrigue. The patent describes a layout that can accommodate one turbocharger per bank, effectively a tri-turbo setup with each turbo dedicated to its own cylinder bank. That opens the door to clever boost control strategies, faster response at lower engine speeds, and serious high-rpm airflow. Porsche’s notes suggest the straight-shot intake runners would reduce frictional losses in the incoming air, and the physical separation of intake and exhaust plumbing could help keep charge temperatures lower. Cooler air is denser air, and denser air means more potential power without necessarily inflating displacement.
It is also notable what the patent does not do. There are no hard commitments to cylinder count or displacement. The document leaves the architecture flexible, with room to scale up to 18 cylinders but not strictly bound to that figure. That kind of wiggle room is typical of early-stage filings, especially for an automaker that loves to keep future plans close to the vest.

Of course, the questions write themselves. Where would such an engine live, and why pursue it now. The obvious candidates would be halo projects where drama and exclusivity matter as much as performance. A limited-run track special, an ultra-high-end GT, or a spiritual follow-up to Porsche’s greatest exotics all make sense on paper. There is also a racing angle to consider. Even as regulations and class structures evolve, Porsche’s motorsport arm has never shied away from unconventional solutions when a competitive advantage is on the line.
Context matters here. Battery electric adoption continues to grow, but the industry is also recalibrating expectations and product plans. Porsche, like several peers, is simultaneously advancing electrification while investing in low-carbon fuels and new combustion tech. A flexible, highly boosted multi-bank engine could serve as a test bed for efficiency improvements and synthetic fuel compatibility, even if it never reaches showroom floors.
Skepticism is fair. Automakers file countless patents that never make it past the idea stage. Porsche is no stranger to parking future-forward concepts on the shelf if they don’t clear the hurdles of cost, packaging, emissions, or brand fit. Still, this one feels more than just a thought exercise. The three-bank structure, the tri-turbo provisioning, and the airflow focus all speak to problems Porsche actually cares about solving. It also plays into the brand’s habit of chasing elegant mechanical solutions that double as emotional statements.
If nothing else, imagine the soundtrack. An 18-cylinder symphony with three snails spooling in harmony would be a goosebump factory. Even a scaled version with fewer cylinders could produce the kind of character that enthusiasts obsess over. In an era where software increasingly defines the experience, hardware like this reminds us why engines still tug at the heart.
Will we ever see it turn a wheel. That is the great unknown. Porsche’s filing shows engineers are still exploring new ways to package power and heat, and that curiosity alone is worth celebrating. If the W-18 becomes a real-world monster, we will be first in line to hear it sing. If not, the patent still offers a fascinating peek into how the company thinks about the next chapter of combustion technology.

Darryl Taylor Dowe is a seasoned automotive professional with a proven track record of leading successful ventures and providing strategic consultation across the automotive industry. With years of hands-on experience in both business operations and market development, Darryl has played a key role in helping automotive brands grow and adapt in a rapidly evolving landscape. His insight and leadership have earned him recognition as a trusted expert, and his contributions to Automotive Addicts reflect his deep knowledge and passion for the business side of the car world.